Vistes en un document, no totes les idees d'Apple semblen viables. I és més o menys la impressió que a molts els ha donat amb la més recent proposta patentada pels de la poma mossegada. Com han ressenyat des de patentlyapple un futur MacBook podria incloure una tecla extraïble que funciona com un ratolí.

Apple patenta un enginyós teclat per a MacBook
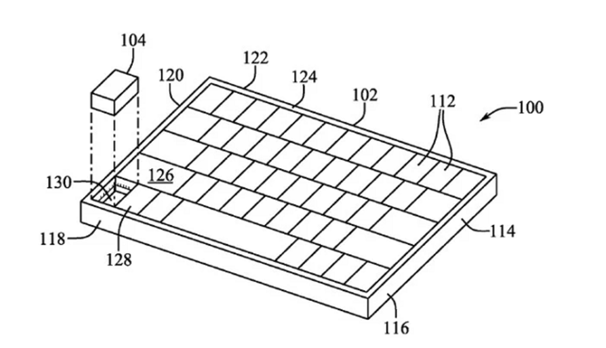
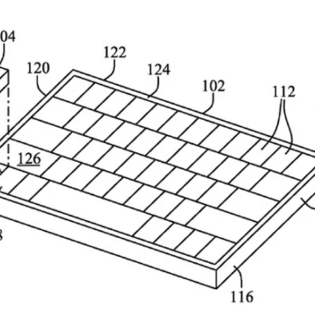
La sol·licitud de patent, detectada per primera vegada per Patently Apple, es titula "Teclat de ratolí desplegable" i es va presentar a l'Oficina de Patents i Marques dels Estats Units. La presentació es refereix a un teclat de sistema de tisora MacBook d'aspecte estàndard que compta amb una tecla extraïble oculta. La peça proposa un sensor de posició que s'utilitzaria com a dispositiu assenyalador.
Apple pensa en un teclat per al MacBook increïble
En la documentació Apple descriu el sistema com una "entrada de punter còmoda, portàtil i precisa per a un sistema d'entrada d'ordinador". La presentació explica que algunes tasques precises, com el disseny gràfic, el disseny i modelatge assistits per ordinador i l'edició de documents grans i complexos, s'adapten millor a un ratolí de mà que a un trackpad.
Per aconseguir l'objectiu, Apple descriu diversos sistemes mecànics per facilitar la clau extraïble, inclòs el lliscament d'una clau única o un conjunt de claus múltiples fora de la carcassa verticalment, així com el desplaçament horitzontal d'una clau des del costat de la màquina. Les il·lustracions de la patent mostraven la tecla desplegable ubicada cap a la vora del teclat perquè no fos una tecla d'ús freqüent.

Apple suggereix un teclat amb una tecla desplegable
En la seva proposta Apple destaca que aquesta peça extraïble pot resultar la solució viable a la càrrega extra de portar un ratolí per separat, quan l'ordinador ja compta amb des d'aquest tipus de dispositius incorporats. Com sol succeir amb aquest tipus de propostes, mai se sap quan passa del paper a la realitat.