Hace unos años Apple presentó su pantalla profesional Pro Display XDR junto a un nuevo Mac Pro. Y junto a la pantalla llegó el Pro Stand, una peana en la que colocar el caro monitor que tiene un precio superior al de un iPhone, ya que cuesta la friolera de 999 dólares o 1.099 euros. Pues bien, ahora Apple ha patentado una especia de Pro Stand doble en el que conectar dos monitores Pro Display XDR.
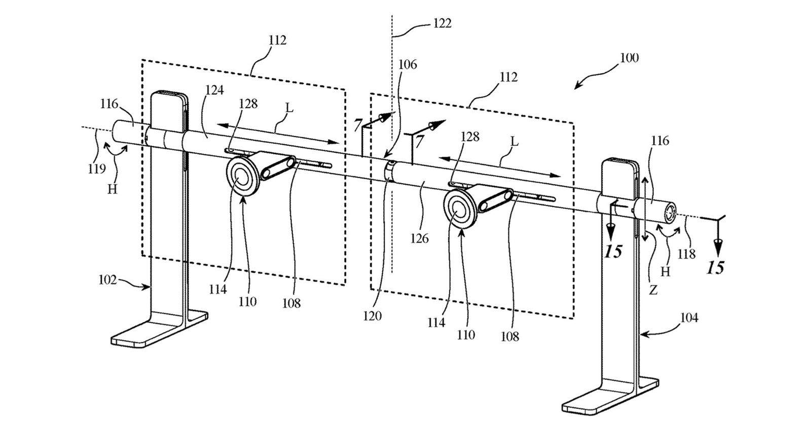
La Oficina de Patentes y Marcas de los Estados Unidos ha concedido oficialmente la patente a Apple de un soporte doble denominado en la patente como Dual Display Stand. Y en ella se detalla un diseño mecánico con el que Apple quiere cubrir las diferentes de las soluciones multipantalla existentes, ofreciendo un ajuste fácil y preciso para hasta dos pantallas externas.

Apple ha patentado un soporte doble para sus pantallas externas
El soporte de la pantalla proporciona una suavidad, rigidez y comodidad mejoradas para que el usuario soporte y utilice varias pantallas en un solo soporte.
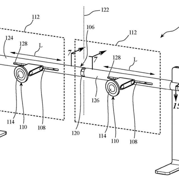
Como se puede apreciar en los esquemas compartidos, el soporte parece utilizar las mismas juntas móviles que el Pro Stand existente donde se colocan el Studio Display y el Pro Display XDR, pero los coloca sobre un rail, de forma que podamos ajustar la posición de la pantalla.
Además, contamos en el centro con una bisagra, que permite colocar las dos pantallas en el ángulo que deseemos. Y en los laterales también tenemos un mecanismo para ajustar fácilmente la altura de las pantallas

Podremos poner las pantallas en el ángulo que queramos
"Cuando los usuarios utilizan varias pantallas en un espacio de trabajo, las pantallas generalmente son compatibles con múltiples soportes individuales diferentes o por brazos móviles de forma independiente que se extienden desde un solo punto de soporte. Estos soportes o brazos individuales ocupan innecesariamente grandes espacios, a menudo son estéticamente desagradables, demasiado complicados y tienen mecanismos redundantes ineficientes.
Cuando se utilizan varias pantallas en brazos independientes, pueden ser difíciles de alinear de manera suave y precisa debido al contrapeso inconsistente y a las longitudes de los brazos. Cuando se utilizan varias pantallas en un solo soporte, no se pueden ajustar de manera efectiva entre sí sobre un eje vertical".
Por el momento solo es una patente y no siempre las patentes registradas por Apple terminan convirtiéndose en un producto final, incluso muchas de ellas terminan siendo solo para uso interno dentro de las oficinas de Apple. Veremos que sucede con este stand doble, pero el precio podría ser escandaloso.